Page 219 - CTS - Mechanic Diesel - TP
P. 219
MECHANIC DIESEL - CITS
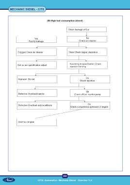
(III) High fuel consumption (diesel)
Check leakage of fuel
<
Yes No
< Rectify leakage Check air cleaner
< <
Clogged Clean air cleaner Clear Check tappet clearance
< <
Not as per specification adjust According to specification Check
injection timming
< <
Improper Re-set Ok
Check injection
< <
Ok
Defective Overhaul injector Check of fuel injector pump
< <
Defective Overhaul and recalibrate Ok
Check compression pressure of engine
Overhaul engine
202
CITS : Automotive - Mechanic Diesel - Exercise 13.3

